海灣JTY-HM-GST102線型光束探測器




海灣JTY-HM-GST102線型光束探測器特點
JTY-HM-GST102型線型光束感煙火災探測器為編碼型反射式線型紅外光束感煙火災探測器。探測器可直接與我公司生產的火災報警控制器連接,通過總線完成二者間狀態信息的傳遞。探測器必須與反射器配套使用,但需要根據二者間安裝距離的不同決定使用一塊或四塊反射器。探測器主要具有以下特點: (1)將發射部分、接收部分合二為一,安裝簡單、方便,光路準直性好;
(1)具有自動校準功能,確保可以由單人在短時間內完成調試,操作簡單、方便;
(2)具有自診斷功能,可以監測探測器的內部故障;
(3)具有自動補償功能,對于一定程度上的灰塵污染、位置偏移及發射管的老化等致使接收信號減小的因素可自動進行補償;
(4)可現場設置三個級別的靈敏度,適用于不同揚塵程度的場所;
(5)電子編碼,地址碼可現場設定;
(6)探測光路設計巧妙,抗干擾性能強;
(7)密封設計,具有防水性能;
(8)專利產品,專利號為ZL03358053.7。
二、JTY-HM-GST102線型光束探測器主要技術指標
(1)工作電壓:總線電壓:總線24V 電源電壓:DC24V
(2)工作電流
電源電流:調試電流≤20mA
監視電流≤8mA
報警電流≤12mA
總線電流≤2mA
(3)靈敏度等級
一級:1.3±0.3dB
二級:1.7±0.3dB
三級:2.3±0.3dB
(4)指示燈:
調試狀態:綠色和黃色指示燈以特定的方式點亮或閃亮
正常監視狀態:紅色指示燈周期性閃爍
火警狀態:紅色指示燈常亮,黃色指示燈熄滅
故障狀態:黃色指示燈常亮
光路被全部遮擋:探測器先報故障并點亮黃色指示燈,20s~40s內探測器報火警,并點亮紅色指示燈,熄滅黃色指示燈
(5)保護面積:探測器最大保護面積為14×100=1400m2,最大寬度為14m
(6)外殼防護等級:
普通環境應用時,外殼防護等級為IP20
特殊環境應用時,經膠封處理后,外殼防護等級為IP66
(7)使用環境:
溫度:-10C~+50C
相對濕度≤95%,不結露
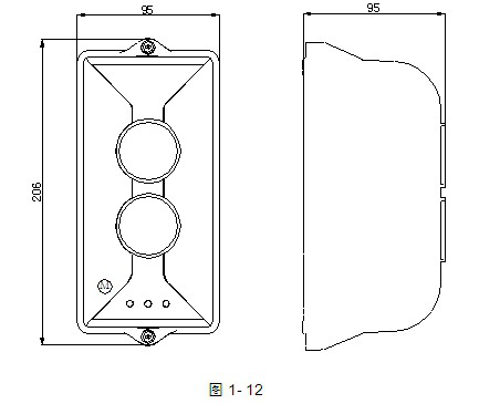
(8)外形尺寸:
長度:206mm寬度:95mm厚度:95mm
三、JTY-HM-GST102線型光束探測器結構特征、安裝與布線
本探測器外形示意圖如圖1-12:


當探測器與反射器間的安裝距離大于40m(小于等于100m)時,需安裝4塊反射器。單塊反射器安裝需用兩只6塑料脹釘將其固定,安裝尺寸如圖1-15所示,四塊反射器安裝時應擺放緊密,反射器之間不應留空隙,安裝示意圖如圖1-16所示(圖未按比例)。


智淼君安(江蘇)消防工程技術有限公司http://m.luvata-china.com/
本頁關鍵詞:
上一篇:沒有了! 下一篇:JTY-GF-GSTN701獨立式光電感煙火災探測器
產品中心

蘇公網安備32058102002148號